速豹新闻网 记者 赵双红 杨倩倩
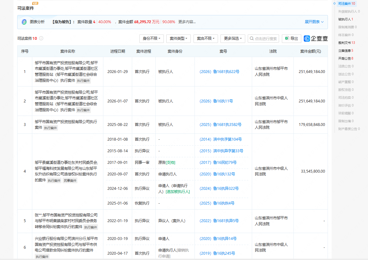
据中国执行信息公开网,近日,山东滨州邹平市国有资产投资控股有限公司(以下简称“邹平市国投”)被邹平市人民法院列入被执行人名单,执行标的约2.52亿元。


据企查查,邹平市国投有多条司法案件信息,截至目前,该公司共有2条历史被执行人记录,被执行总金额达4.3亿元。


邹平市国投成立于2003年5月,法定代表人为袭琳,注册资本为10亿元,统一社会信用代码为91371626749885752Y,企业注册地址位于山东省滨州市邹平市黄山街道办事处鹤伴二路888号,所属行业为其他金融业,经营范围包含对所属投资控股公司进行投资管理;以自有资金对实体投资;基础设施建设;投资咨询服务(不含证券、期货投资咨询);房屋租赁服务;房地产开发经营;水利工程施工。企业当前经营状态为在业。